
上海過濾器生產廠家,本頁主要介紹過濾器的主要產品資料, 過濾器知識、規格型號、型號編制、原理、溫度、結構、圖片等信息。
可拉伐閥門(上海)有限公司作為過濾器制造商與出口商,擁有全套的過濾器解決方案,持續為全球客戶提供更有競爭力的過濾器產品。
可拉伐閥門(上海)有限公司從成立那時起,它一直致力于了解客戶的需求和期望立志為流體控制決絕難題,從事各種水利閥、氣動蝶閥、電動蝶閥、氣動球閥、電動球閥、智能調節閥門、電動調節閥、氣動調節閥、自力式調節閥等。
因過濾器質量問題而使設備性能與原定技術要求有偏差,本公司負責解決,直到滿足要求。
我們擁有的技術服務隊伍,對客戶提出的、遇到的問題進行解決,如需現場處理,我們將派出相關人員到達現場解決問題。
對客戶提出的問題進行解答,并對客戶所面臨的工況問題提出合理的解決方案,并對產品進行合理的報價。
對服務的客戶進行跟蹤回訪,提供產品技術支持,對產品在使用過程中遇到的疑難問題進行分析并加以排除。
我們的過濾器應用到化工和石化、環境保護、數據中心、水處理、石油、天然氣、食品和飲料、工業、氣體、新能源發展、造紙和采礦等行業。

提供工作壓力、溫度、介質、連接方式、驅動方式等產品參數

收到采購清單

提供報價和選型過濾器型號

簽到采購合同

事宜商定:交貨期、特殊要求等等。
輸送介質管道系統中的過濾裝置
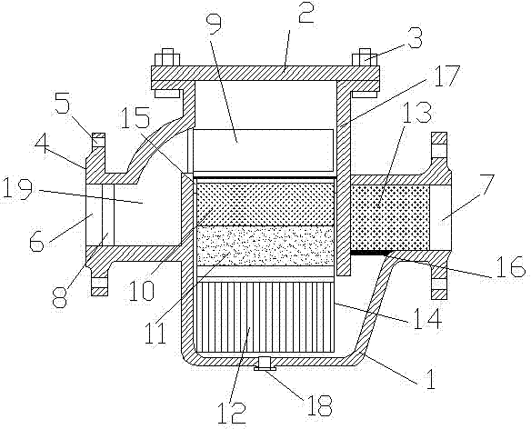
Y型過濾器是輸送介質的管道系統不可缺少的一種過濾裝置,Y型過濾器通常安裝在減壓閥、泄壓閥、定水位閥或其它設備的進口端,用來清除介質中的雜質,以保護閥門及設備的正常使用。Y型過濾器具有結構******,阻力小,排污方便等特點。Y型過濾器適用介質可為水、油、氣。一般通水網為18~30目,通氣網為10~100目,通油網為100~480目?;@式過濾器主要由接管、主管、濾藍、法蘭、法蘭蓋及緊固件等組成。當液體通過主管進入濾藍后,固體雜質顆粒被阻擋在濾藍內,而潔凈的流體通過濾藍、由過濾器出口排出。
Y型過濾器是除去液體中少量固體顆粒的小型設備,可保護設備的正常工作,當流體進入置有一定規格濾網的濾筒后,其雜質被阻擋,而清潔的濾液則由過濾器出口排出,當需要清洗時,只要將可拆卸的濾筒取出,處理后重新裝入即可,因此,使用維護***為方便。Y型過濾器又名除污器、過濾閥,是輸送介質的管道系統不可缺少的一種裝置,其作用是過濾介質中的機械雜質,可以對污水中的鐵銹、沙粒、液體中少量固體顆粒等進行過濾以保護設備管道上的配件免受磨損和堵塞,可保護設備的正常工作。
Y型過濾器是Y字型的,一端是使水等流質經過,一端是沉淀廢棄物、雜質,通常它是安裝在減壓閥、泄壓閥、定水位閥或其它設備的進口端,它的作用是清除水中的雜質,達到保護閥門及設備正常運行的作用,過濾器待處理的水由入水口進入機體,水中的雜質沉積在不銹鋼濾網上,由此產生壓差。通過壓差開關監測進出水口壓差變化,當壓差達到設定值時,電控器給水力控制閥、驅動電機信號,引發下列動作:電動機帶動刷子旋轉,對濾芯進行清洗,同時控制閥打開進行排污,整個清洗過程只需持續數十秒鐘,當清洗結束時,關閉控制閥,電機停止轉動,系統恢復至其初始狀態,開始進入下一個過濾工序。設備安裝后,由技術人員進行調試,設定過濾時間和清洗轉換時間,待處理的水由入水口進入機體,過濾器開始正常工作。
1.空氣過濾器 使受到污染的空氣被潔凈到生產、生活所需要的狀態,也就是使空氣達到一定的潔凈度。
2.液體過濾器 使受到污染的液體被潔凈到生產、生活所需要的狀態,也就是使液體達到一定的潔凈度。
3.網絡過濾器 通過設置來阻擋垃圾信息,使出電腦屏幕上的信息盡量符合要求。同吸收的原理將不同顏色的光線分離
4.光線過濾器,把一些不需要的光線吸收掉。上面說的應該是網式過濾器,其實過濾器還有很多種,譬如疊片過濾器、砂濾器、碳濾器等等,主要原理都是利用過濾介質的孔徑截留比介質孔徑更小的物質,當然有的過濾介質還具有吸附等特殊效果。大多過濾器反洗也沒有那么麻煩,只要用清水從過濾出水的一端導入逆向反沖洗過濾器中的介質就可以達到很好反洗效果。本類閥門在管道中一般應當水平安裝。
型號
基本參數:
1、介質溫度:300(℃);
2、工作壓差:2KG;
3、材質:不銹鋼;
4、產品別名:Y型過濾器;
5、適用范圍:液體過濾;
6、連接形式:法蘭;
7、類型:直角式;
8、流動方向:單向;
9、適用介質:水;
10、壓力環境:常壓。
安裝
蒸汽或氣體管道:濾網朝水平方向;
液體管道:濾網朝下安裝;
垂直安裝:根據過濾器安裝指向。
產品應用
Y型過濾器作為凈化設備工程中不可缺少的一款高效過濾設備,在生活廢水污水以及工業污水的處理中都發揮了很大的功效,憑借設計和運用方面的各項優勢,如今已是備受青睞。
Y型過濾器在各個行業的運用中有效處理了大量生活及工業污水,使寶貴的水資源得到了有效的重復利用,節省大量的水資源功不可沒。Y型過濾器運行中的優勢包括全程全自動化、免維護、過濾面積大、濾網效率高、使用壽命長、不銹鋼材質、過濾精度可選、規格齊全。與其他過濾設備相比它是中水回用工程中最有效的設備之一。而且經過Y型過濾器處理之后的水質不僅達到***家規定的排放標準,而且水還實現了重復、循環利用的目的。